



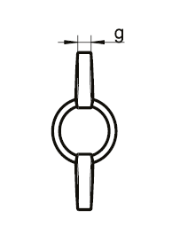
DIN 316, kelebek civatalarını tanımlayan bir standarttır. Bu civatalar, kelebek şeklindeki baş tasarımı sayesinde elle kolayca sıkılıp gevşetilebilir, bu da hızlı montaj ve demontaj sağlar. Kelebek baş yapısı, alet kullanmadan pratik bir bağlantı imkanı sunarak, sık sık sökülüp takılması gereken uygulamalarda idealdir. Genellikle endüstriyel, otomotiv ve genel mühendislik alanlarında kullanılır. DIN 316 civataları, yüksek dayanıklılığa sahip çelik veya paslanmaz çelik malzemelerden üretilir. Farklı boyut ve çap seçenekleri ile çeşitli montaj ihtiyaçlarına uygun şekilde temin edilebilir.
| Boy/ Ø | M3 | M4 | M5 | M6 | M8 | M10 | M12 |
|---|---|---|---|---|---|---|---|
| e | 17,6 | 18 | 24 | 30 | 36 | 48 | 62 |
| h | 8,6 | 8,5 | 11 | 15 | 18 | 23 | 31 |
| m | 2,4 | 3,2 | 4 | 5 | 6,5 | 8 | 10 |
| g | 1,2 | 1,6 | 2,1 | 2,5 | 2,8 | 3,3 | 4,5 |